在21世纪的科技浪潮中,人工智能(AI)技术正以前所未有的速度渗透到社会的各个领域,教育领域也不例外。随着教育改革的不断深入,传统教学模式的局限性日益凸显。如何实现个性化教学、提高教学效率、减轻教师负担成为教育界亟待解决的问题。在这样的背景下,AI巡课督导系统应运而生。讯维AI巡课督导系统凭借其精准的数据分析、智能的评估反馈以及高效的管理资源等优势,为教育教学提供了全新的解决方案。
一、产品介绍
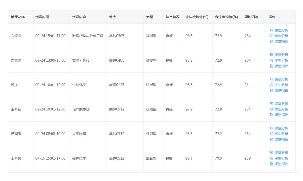
讯维AI巡课督导系统通过建立数据分析模型实现对课堂中各种教学行为和教学内容进行自动分析,自动形成课堂教学行为和教学内容的分析数据,如出勤率、课堂教学类型、专注度、前排就坐率、课堂活跃度、敏感词预警、互动率、教学质量等数据报告,为教学老师方法改进、督导人员或校领导提供基础分析信息和参考。系统具备以下特点:
全面数据采集与分析
讯维AI巡课督导系统能够全面采集学生的学习数据,包括学习进度、成绩表现、学习习惯等。通过大数据分析和机器学习算法,系统能够对这些数据进行深度挖掘和分析,为教师提供全面、精准的学生画像。同时,系统还能对教师的教学过程进行实时监测和分析,评估教师的教学质量和效果。
智能评估与反馈
该系统具备智能评估与反馈功能。通过对学生作业、测试等学习成果的自动批改和分析,系统能够即时生成评估报告,为教师提供详细的教学反馈。这些反馈不仅包括对学生知识点的掌握情况,还包括学习方法的建议和改进方向。此外,系统还能根据学生的学习情况,智能推荐个性化的学习资源和教学策略,帮助教师实现因材施教。
创新教学设计辅助
基于人工智能的教学设计变革,讯维AI巡课督导系统依照中国教科院最前沿的CFS教学设计量规,将传统的依靠主观经验的人工教案标注、分析、评级替代为人工智能的分析方法。系统能够诊断教师教学设计不足之处,并提供针对性的改进建议,帮助教师设计出更高质量的教学设计,大大提高教师备课能力和教研效率。
智能课堂分析
系统可对课堂教学过程的分析评测,实现学生的抬头率、点头率、听讲、起立、 阅读、书写、举手、趴桌子等行为指标分析,最终汇聚分析成勤率、课堂教学类型、专注度、前排就坐率、课堂活跃度、互动率等数据,通过平台图形化界面同一呈现课堂教学分析评测结果。
二、应用场景
课堂教学质量评估
讯维AI巡课督导系统可以依据权威的课堂教学量化指标,将课堂实录(音视频)数据结合教育模型进行人工智能分析,呈现全方位、多维度的课堂教学评价结果。这为教师教学追溯、教学研究提供了客观化、科学化的数据支撑。通过系统生成的分析报告,教师可以清晰地了解自己在课堂教学中的优点和不足,从而有针对性地进行改进。
个性化学习辅导
针对不同学生的学习特点和需求,讯维AI巡课督导系统能够提供个性化的辅导服务。系统能够根据学生的学习数据和学习习惯,智能推荐适合他们的学习资源和教学策略。同时,系统还能实时监测学生的学习进度和效果,为教师提供及时的反馈和建议,帮助学生实现个性化学习。
教学管理决策支持
对于学校和教育管理部门而言,讯维AI巡课督导系统能够提供全面的教学管理支持。系统能够实时收集和分析全校师生的教学数据和学习数据,为学校提供精准的教学评估和反馈。这些数据不仅有助于学校了解教学质量和学生学习情况,还能够为学校制定科学的教育决策提供有力支持。
区域教研协同发展
在区域教研方面,讯维AI巡课督导系统也发挥着重要作用。通过系统对区域内各学校、各学科、各教师的课堂数据进行采集和分析,可以形成区域性的教学画像和教研报告。这为区域内的教育管理者和教研人员提供了重要的参考依据,有助于推动区域内的教研协同发展。
三、实施效果
提升教学质量
通过讯维AI巡课督导系统的应用,教师可以更加精准地了解学生的学习情况和需求,从而有针对性地调整教学策略和方法。这有助于提高学生的学习兴趣和积极性,提升教学质量和效果。同时,系统还能够为教师提供个性化的教学改进建议,帮助教师不断提升自己的教学水平。
减轻教师负担
讯维AI巡课督导系统能够自动采集和分析学生的学习数据和教学数据,为教师提供详细的教学反馈和评估报告。这大大减轻了教师的工作负担,使他们能够更加专注于教学本身,提高教学效率和质量。
促进教育公平
通过讯维AI巡课督导系统的应用,可以实现教育资源的共享和优化利用。系统能够智能推荐适合学生的学习资源和教学策略,为不同背景和能力的学生提供个性化的学习支持。这有助于缩小教育差距,促进教育公平。
推动教育创新
讯维AI巡课督导系统的应用为教育教学带来了新的思路和方法。通过系统的数据分析和智能反馈功能,教师可以更加深入地了解学生的学习情况和需求,从而探索更加创新的教学模式和方法。这有助于推动教育教学的不断创新和发展。
讯维AI巡课督导系统作为一款集数据采集、智能评估、资源管理和教学设计辅助等功能于一体的智能教学工具,正在为教育教学带来深刻的变革。通过其精准的数据分析、智能的评估反馈和高效的管理资源等优势功能,讯维AI巡课督导系统正逐步改变着传统教学模式和学习方式,为培养更多具有创新精神和实践能力的人才贡献智慧和力量。随着技术的不断进步和应用的不断拓展,讯维AI巡课督导系统将在未来继续发挥其重要作用。未来,系统将进一步优化数据采集和分析算法,提高数据分析的准确性和效率。同时,系统还将引入更多先进的技术手段,如自然语言处理、计算机视觉等,为教育教学提供更加全面、智能的支持。



